Справка документа
Источник публикации
Официальный интернет-портал правовой информации http://pravo.gov.ru, 19.08.2022
Постановление Правительства Ивановской области от 18.08.2022 N 454-п "О памятнике природы Ивановской области "Аллея крупнолистной липы на улице Фролова (Бульвар по улице Фролова, Гарелинский бульвар)" (вместе с "Паспортом памятника природы Ивановской области "Аллея крупнолистной липы на улице Фролова (Бульвар по улице Фролова, Гарелинский бульвар)")
Скачать:
PDF (769 Кб)
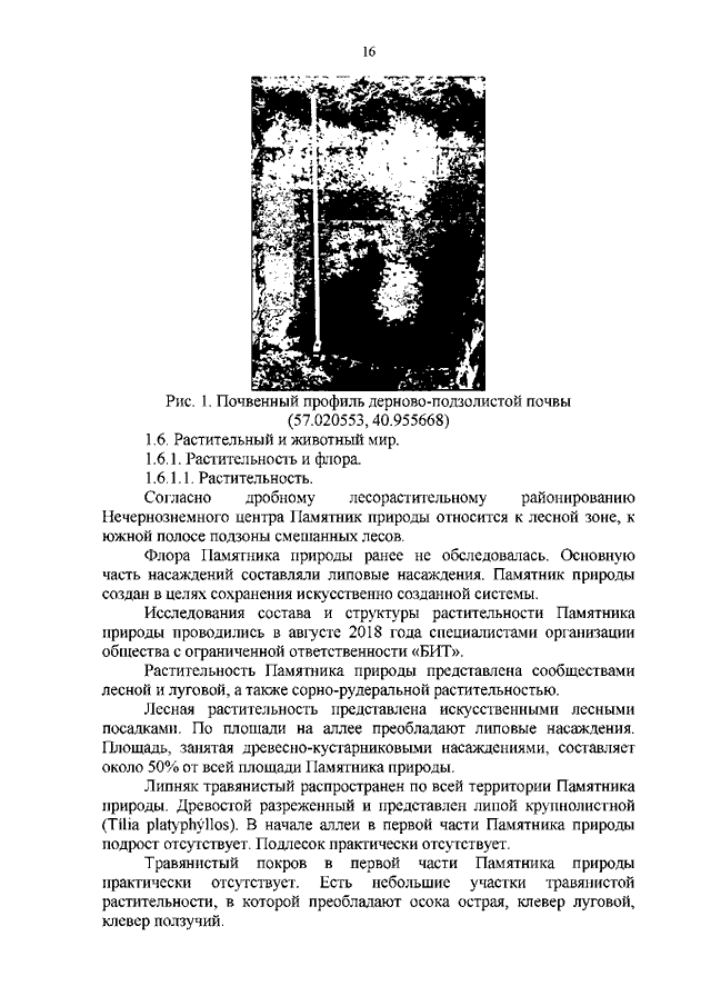
Страница 16 из 19